会员管理
如果您在使用过程中遇到任何问题或需要帮助,请在企业微信联系技术协助。
会员管理
电商后台会员管理是电商平台的核心功能之一,主要用于管理会员信息、提升用户体验、增强用户粘性和优化运营策略。 以下是电商后台会员管理的主要功能和重要性
会员信息管理
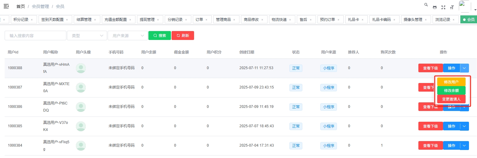
包括会员注册、资料完善等,系统自动收集会员的基本信息,如姓名、邮箱等,并允许补充会员更多个人资料、可查看会员上下级信息、会员佣金余额、积分余额、会员来源、推荐人以及购买次数。
可操作变更会员邀请人以及修改会员余额。

会员浏览记录
行为追踪:实时记录会员的购物行为,如浏览商品、查看订单详情加入购物地址、修改购物车商品数量、下单支付等,为分析会员消费习惯和优化商品推荐提供依据 。

会员商品收藏
会员商品收藏功能是电商平台提升用户体验和商家运营效率的重要工具之一。用户可以通过收藏功能方便地管理自己感兴趣的商品,而商家则可以通过分析收藏数据优化商品推荐和营销策略,提高用户满意度和销售额。
如何收藏商品
回乡真选小程序:打开回乡真选小程序,选择目标商品,点击【收藏】选项,即可添加收藏商品。
查看收藏商品
用户可以在小程序的“我的收藏”或类似名称的页面中查看已收藏的商品。查看当前收藏的商品列表,点击商品可跳转至商品详情页。

用户账单
会员账单记录了会员id在平台上的充值、消费、退款、佣金支出、等资金变动情况,以及积分的获取和使用情况。
