跳到主要内容

报表详细描述

综合报表

查询时间段内所有订单,详细展示订单的各种类型优惠、折扣,优惠金额等;包含订单总金额,订单使用平台赠送金额支付,订单使用商户赠送金额,订单使用第三方优惠金额,实付金额(包含各种实际支付金额的支付方式),订单流水号,订单退款金额,订单优惠券优惠信息,订单活动优惠信息,订单抵扣券优惠信息。

Alt text


销售报表

查询时间段内的菜品种类列表和占比图;时间段销售额;单品的销售数量;

● 菜品种类列表

包含菜品分类,销售数量,金额和占比

● 占比图

显示销售各类菜品所占比例

Alt text

● 时间段销售额

显示每天营业的时间段,每一段时间的营业额,包含时间段营业总额、优惠金额,外卖金额、实际收入、订单数量订单数量、营销折扣、折前折后均价

Alt text

● 单品的销售数量

显示时间段内销售的所有商品的分类、商品规格 、销售数量、商品金额、销售单价,销售占比,营收占比

Alt text


分析报表

显示时间段内的订单,主要展示订单中商品的销售信息;订单显示下单账户,订单总金额,单品折扣;列出订单中购买的商品、数量、单价、和购买商品实付的金额;订单中赠送或退款的商品品,数量和金额;订单中优惠券优惠、抵扣券优惠、活动优惠、和会员权益优惠;流水号和桌位号,

Alt text


营收明细

显示时间段内销售的商品,商品销售数量、销售数量占比、商品原价,商品实收、商品收入占比、商品优惠,商品优惠占比。

Alt text


充值报表

查询时间段内的充值数据,包含时间段内总的数据统计,和充值数据列表

● 数据统计

显示时间段内充值的实收,充值总的营销赠送金额,和总充值金额。另外显示商户总的实收,总的营销赠送和总充值金额。

● 数据列表

显示充值记录列表,充值时间充值人的手机号,充值渠道(小程序还是POS),充值的金额,充值活动赠送的金额,和实际充值的金额,

Alt text


周期报表

显示一个周期时间段内每天的数据,包含订单周期、销售周期、单品周期

● 订单周期

显示时间段内 每天的订单数、订单销售总额、桌均消费额、优惠金额、记账优惠金额、实际收入、营销折扣、充值金额、退款金额、商户实收、和订单实际的折扣率

Alt text

● 销售周期

显示时间段内销售的商品信息,可对商品分组和官方分类进行筛选;列表包含商品名,商品对应的分组,和商品销售数量、销售单价、商品总金额;商品项可展开显示,查看商品对应的各种规格的销售数量销售单价和总商品价格

Alt text

● 单品周期

显示时间段内每天的商品销售信息,可输入商品名对列表进行查询筛选,日期列表内每天的商品,包含销售的商品数量、销售单价和商品销售总金额。

Alt text


充值周期报表

查询时间段内每天的充值信息,列表显示每天的充值笔数、充值的总金额,充值的总赠送金额、充值总实收金额。

Alt text


活动统计表

显示时间段内的活动营销信息, 可对统计方式进行筛选,筛选包含(按促销活动、活动类型、优惠券、抵扣类型);列表包含活动名、活动类型、活动执行次数、使用促销活动优惠的总金额、优惠的金额占比,活动关联订单的原价、优惠和订单的实际收入。

Alt text


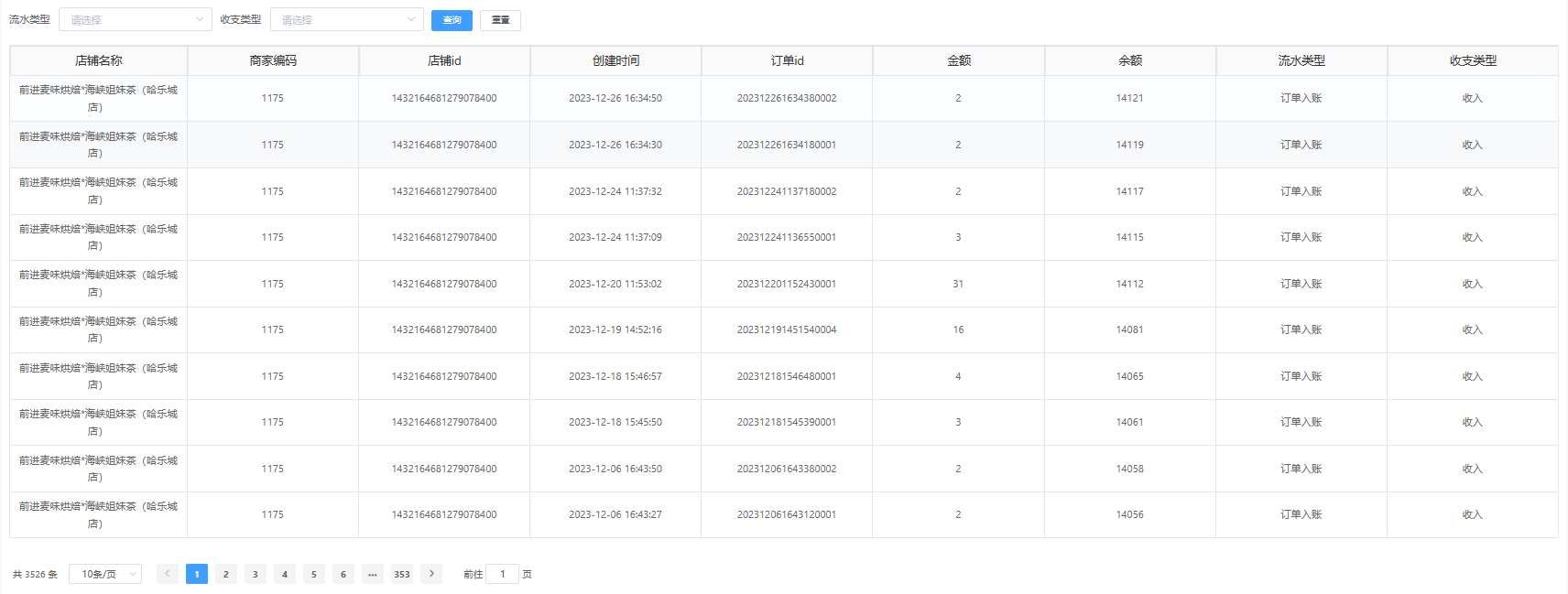
店铺流水

显示店铺的流水信息,可对流水类型筛选,流水类型包含(订单入账、买家退款、体现);收支类型筛选包含(收入支出);列表包含店铺名、店铺所属的商户编号、订单id和订单创建时间、流水类型和收支类型。

Alt text


门店分账

显示时间段内门店结算列表,可对状态进行筛选、状态包含(待审核、已驳回、已通过、分账失败、分账完成),k可搜索店铺名;列表包括店铺,名、分账比例、分账商户编号、分账结算类型、订单总量、订单总金额、订单分账金额;票券总数量、票券总金额、票券总分账金额;结算日期,结算状态