待汇总的销售记录
“总仓汇总用户”打开菜单【销售】--【汇总采购】--【待汇总销售单】

可以看到按“发货仓库》客户》订单日期”分组的待汇总记录,若觉得默认分组不方便操作,去掉默认筛选然后自己根据需求
调整分组。合理的分组可以有效的减少鼠标点击量。
处理汇总时需要勾选待汇总的记录,从而对这些记录进行操作。
生成汇总单
调整右上角分组之后,根据实际情况选中需要处理的记录,点击“动作”按钮打开动作列表,再点击“生成汇总采购”,生成汇总单。

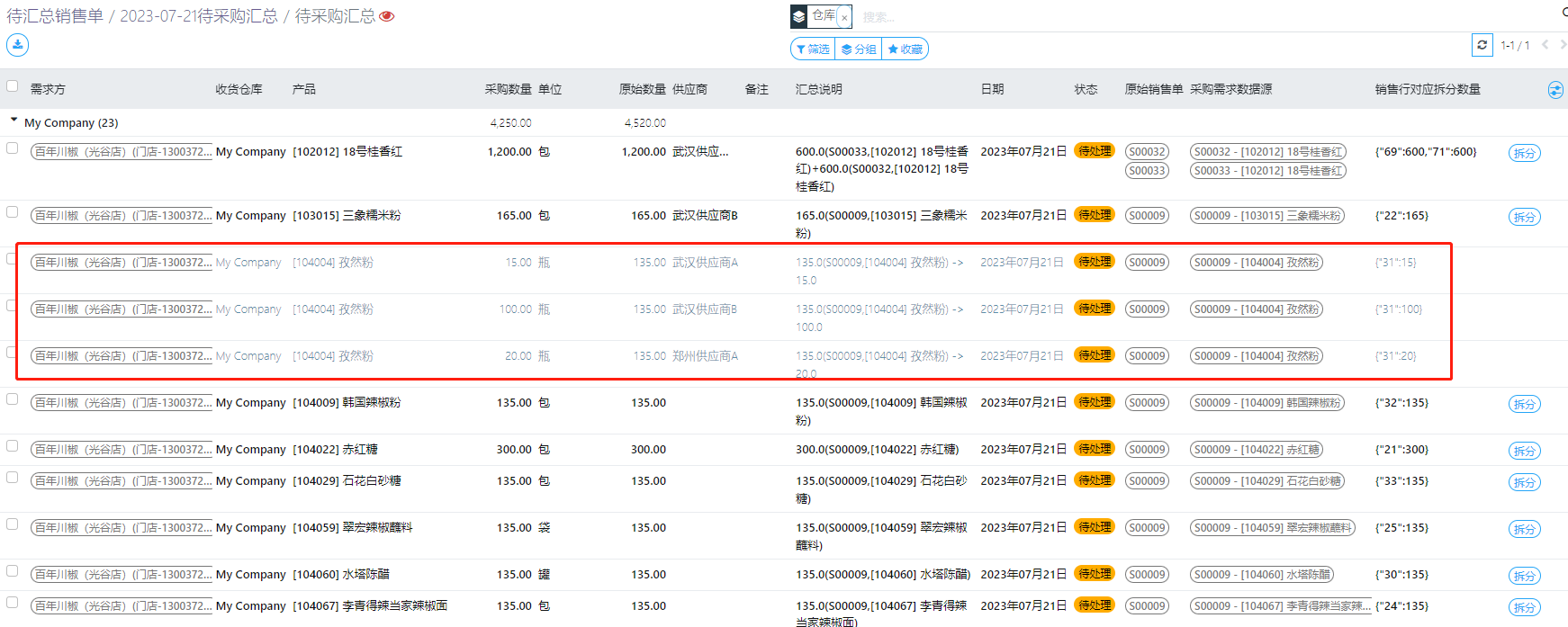
汇总单如图所示:

需要为汇总单的每一行配置供应商和收货的仓库,对于某些产品需要分摊到多个供应商的情况, 可以点击该行最右边的“拆
分”按钮,拆分的主要是调整供应商,如图所示:

拆分结果图:

汇总单生成采购单
勾选处理完待采购的汇总单,点击“生成采购单”按钮;

可以看到按供应商区分生成的汇总采购单,需要对每一个采购单进行处理;

打开采购单,点击“打印询价”按钮,将采购详情发给供应商。然后点击“确认订单”按钮,完成采购流程;

采购单入库
在采购单页面点击“接受产品”按钮或者右上角的“收货”按钮,进行收货采购入库;

根据实际收货情况输入完成数量, 点击左上角的“验证”按钮完成入库;

将所有的采购流程和收货流程完成。
销售单出库
所有的采购流程完成之后,回到采购单列表页面,或者打开菜单【销售】--【汇总采购】--【汇总的采购单】
,此时状态“采购订单”表示订单已完成。

打开每个采购订单,点击右上角的销售按钮,打开关联的销售单;

再对关联的每个销售单进行交货出库操作


打开交货单输入完成数量,点击验证按钮,完成出库操作。

可以打开【库存】菜单,查看对应仓库的“收货”和“交货”的待处理作业,对未完成的进行处理即可。
